English
 找回密码
 立即注册

Why don't we buy BNB?

C.Z 2025-11-3 22:25 15819人围观 BNB

After He Yi left OKCoin, he participated in a speech at the IDG Capital "Brand Acceleration Conference". In her speech, she mentioned: “Another entrepreneur talked to me about why I mentioned the word sentiment, because I feel that without sentiment you c


After He Yi left OKCoin, he participated in a speech at IDG Capital's "Brand Acceleration Conference". In her speech, she mentioned: “Another entrepreneur talked to me about why I mentioned the word sentiment, because I feel that without sentiment you can’t build a brand. But I think all these are pseudo-concepts, so I believe that when we talk about feelings, we are actually speculating. Feelings are just a means and not an end.  ”Sentiment is just a means of packaging a brand, and this concept is deeply dear to her heart. At that time, she had not joined Binance and was still directing the battle for market share in the live broadcast industry.

When CZ faced the public for the first time in 2017, it was to stabilize investor confidence and let everyone hold BNB. But at that time, investors lacked patience and confidence, and asked why BNB broke and why it fell. It is understandable that an IT man seemed a little panicked when facing the public. After all, he had no experience. The general environment of digital currency at that time was that all altcoins were rising.

“His voice was trembling, and he kept emphasizing the technology of the exchange, so I threw away all the BNB I had raised through crowdfunding. ”A friend who watched the live broadcast said this to me.

Now I can't find the live broadcast video on Baidu, nor can I find it on YouTube. I think with He Yi’s public relations skills and understanding of media public opinion, he will not let it exist on the Internet. After that, CZ faced the media more often and gradually changed his image as an IT man. Binance has also gradually seized important market opportunities and risen quickly. People have gradually forgotten about it, but I believe Changpeng Zhao will not forget it. He will always remember his first live broadcast on behalf of Binance.

1. Binance’s luck

2017On September 4, 2019, seven departments including the People's Bank of China, the Central Cyberspace Administration of China, the Ministry of Industry and Information Technology, the State Administration for Industry and Commerce, the China Banking Regulatory Commission, the China Securities Regulatory Commission, and the China Insurance Regulatory Commission jointly issued the "Announcement on Preventing Token Issuance Financing Risks." The "Announcement" clearly states that a large number of ICO activities are suspected of being illegal and seriously disrupting the economic and financial order.

----regulatory documents

CZ was born in 1977. His father was a professor at the University of Science and Technology of China. When he was 12 years old, due to the extremely special national conditions at the time, his family moved to Vancouver, Canada. This experience may have left a deep spiritual imprint on him in his early years. This spiritual imprint may have caused him not to trust any country, nor to be a rule-abiding person, but also to believe that problems can be solved by going on a rampage, even if he violates the rules.

To a certain extent, the entrepreneur's own style and principles of doing things are a concentrated representation of corporate culture. Binance actively embraced the regulation of various countries, but finally let it go. This is another aspect of its extremely suspicious character. With digital currency regulation being a major trend, Binance does not yet have any country labels.

The rise of Binance comes from luck, and luck is given by the market.

"94"In response to regulatory policies, Bitcoin China stopped all trading operations. The total number of users moved from one position to OK and Huobi respectively. When OK and Huobi had to respond to the policy and also suspended fiat currency transactions, Binance, which originally only had currency-to-crypto transactions (USDT), could only be the best choice for the users at that time. Later we learned that OK changed its name to OKEX globally. Huobi was split into five, renamed Huobi Global, and Bitcoin China was shut down directly. At that time, fiat currency trading was the main capital entry point for OK and Huobi, while currency-to-crypto trading was only a small part of their ecosystem. There is a month between OK and Huobi fully opening currency trading. This month gives users an opportunity to withdraw coins and mention the Binance exchange address.

2.BNB’s strategy

In the 300-year history of the Ming Dynasty, Beijing was besieged several times. Why did Li Zicheng, who was not very powerful, accidentally capture the city of Beijing in the 17th year of Chongzhen? The trigger was the great plague that spring. Not to mention the superstitious ancients, when the SARS epidemic occurred in Beijing in 2003, the people in Beijing were panic-stricken. You can know how great the fear of severe infectious diseases is for people. No wonder the Dashun army feinted to attack, and some people on the city surrendered. Li Zicheng looked like a bandit in every aspect. He could not be said to be a benevolent and righteous teacher, let alone win the hearts of the people.

----"Plague and History"

 

When Binance started its business, it faced a difficult situation. The user traffic in the market is fixed and is mainly distributed in exchanges such as Bitcoin China, OK, Huobi, and Gate. Binance's market positioning is global. This corporate strategy was not formed at the beginning. Only strategy and no tactics was Binance's flaw at the beginning. But once the horn of battle is sounded, the unorganized army will face hand-to-hand combat and be immediately defeated (refer to the first BNB live broadcast). However, with the 94 market timing and the addition of tactician master He Yi, Binance has turned around. Binance has today thanks to the luck of 94 and the correct tactics of Yijie. The complement of strategy is tactics. In addition to the global strategy of Binance, another strategy is BNB.

In the world of blockchain, the market value of Bitcoin is still stable at more than 50%. Satoshi Nakamoto has really influenced a group of people who are really doing things in the industry. Whether it is V God or BM, they all use the label: genius coder. Satoshi Nakamoto set a standard for the industry: technology changes the world. Application is important, but technology must come first. Whether it is Lightning Network, Segregated Witness, or sharding technology, they are all trying to use technology to transform the Internet. When BNB announced its departure from ERC20, it embarked on a path of no return. This road is not a technical road, even though CZ was once a technical man.

Taking a closer look at the ecosystem of Binance Exchange, you will find that the traffic of the entire system is directed to BNB based on public opinion and sentiment. Every benefit about BNB can be used on a certain application. When taking a closer look at the BNB ecosystem, members of the currency circle Brighttop discovered an ecological text error on Binance’s official website. Some ecological introductory words are written upside down. In the entertainment ecosystem, the Morecoin project is a digital currency loan, and it should not be placed in the entertainment ecosystem anyway.



There are a total of 54 implementation scenario applications in BNB’s ecosystem, and there are at least 40 problematic projects. The general issue will be discussed in detail in a subsequent article. Here are a few typical examples.

Typical 1: Tripio travel project

After receiving an investment of 100 million yuan in the A round of crowdfunding, Binance once launched a huge public opinion campaign, saying that BNB can provide travel payment on this project. Binance once promoted 450,000 hotels in its public relations release. But what is the use of the money received from Binance’s Series A round? Is there any attention or supervision on BNB as a digital currency for payment? There are only over 100 downloads per month.



Typical 2: IevestFeed





The funds raised by this project are close to 60 million, but now the downloads of the project's official website and application APP are zero. BNB's application in this scenario supports purchases, with a daily transaction volume of 50 yuan. Pay on a zero app. What's the point? I feel that the typical aspects of this project are: zero app downloads, a lot of money raised, and on the verge of running away.

Typical 3: HTC

HTC was once one of the largest mobile phone suppliers in the world. Now it is on the verge of bankruptcy both in terms of mobile phone functions and sales. I want to use the new concept of blockchain to make a turnaround, but will everyone really pay for it? Why should it be included in ecological construction?



Recently, the concept of anchoring mainstream currencies has emerged, which turns out to be BTC (How can cz represent Satoshi Nakamoto, and how can BNB represent BTC? I can't accept it. ) As an investor, I tried to open some applications to explore. I found no bright spots among the 54 ecosystems that I was looking for. Looking at them later, it will be easy to understand the role of these pseudo-ecologies. They are all smoke bombs for the media and public opinion in order to increase BNB.

3. Trading

What trouble could happen? The amount of money we mobilize every day is comparable to Buffett.




I control my own life.

----"Overheard 2"

World economic history is a series based on illusions and lies. The way to gain wealth is to recognize the illusion, get involved, and then get out of the game before the illusion becomes public knowledge. As an investor, I agree with the first half of Soros's sentence and treat the second half with caution.

 

There is a truth behind everything that you don't know.



Compared with mainstream exchanges such as Huobi and OK, all fee income comes from mainstream currencies: hard currencies such as BTC, ETH, and USDT. But Binance’s hands were all BNB, and it was CZ who accidentally revealed the secret in a message on Weibo. Why are they all BNB?

It is true that Binance’s main income is BNB. I think there is still a small amount of USDT and mainstream currencies, but most of them are used to maintain the market value of BNB (that is, trading). We can simply and roughly calculate how much BNB Binance holds in total. First, divide Binance’s daily transaction volume by one thousand of the handling fee, and then calculate how many users hold BNB (calculated based on 75% holding deduction). Then I found that the amount of work was huge and I couldn’t complete it, but CZ’s last Weibo gave me a reminder.



What was originally collected was BNB, so there was no such thing as repurchase. The key is how much was recovered. Then I will think about it from the perspective of a large A-share market.

Good stock prices are determined by market rules or by market makers.

Ten to twenty percent of the chips are called low control, twenty to forty percent are called moderate control, more than fifty percent are called high control, and seventy percent are basically just doing whatever you want and drawing K lines at will.

The issuance of BNB on Binance even fell below the issuance price. The price is 1 yuan/piece. The industry unanimously believes that the market situation of Binance trading platform is worrying. Unexpectedly, a BNB that fell below the issue price became a dark horse in the industry's currency in less than a few months. From the issue price of 1 yuan/coin to the highest of 168.73 yuan/coin, the issue price increased by more than 160 times. At this point, Binance has completed a series of combinations such as attracting funds, pulling orders, and building BNB's public opinion ecology.

From an investor's point of view, there was no need to hold it at the beginning, especially since CZ's initial live broadcast left a deep impression on me. BNB is locked at 50% and circulated at 50%. When it falls below the issue price, Binance completes the bottom-end accumulation and trades at will. Of course, Binance also has enough chips that it can't get rid of for several years at a time, and it will use repurchases and other measures to increase more and more. All of Binance’s firepower traffic is concentrated on BNB, and all media public opinion guidance is also concentrated on BNB (promoting Binance is equivalent to promoting BNB). It can neither make BNB fall nor sell all BNB at once. You can only sell some of your chips at a high level with the help of falling market prices and hacker-theft incidents. But maintaining the price of BNB also requires a lot of money (calculated in billions of dollars).

In a recent news update, CZ pointed out that employees’ salaries are in BNB, and the entire team adds up to $1.2 billion in unlocked BNB. No holding details have been announced, but CZ and its core founders must have the largest BNB holding ratio.



First of all, I don’t quite agree with the extreme approach of Binance Exchange. It is first of all promoted as an exchange, but in fact it seems to be a BNB project party and at the same time it is the largest holder of BNB. By constructing BNB's destruction and deflation model, BNB's continuous rise will attract user traffic and attract everyone's attention in public opinion. Binance is right to only have BNB in ​​its hands. The handling fees will be deducted to allow more and more BNB chips to be controlled.

Every time before Binance’s quarterly destruction, BNB will have a wave of increase (during the process of increase, we take the opportunity to reduce holdings to maintain normal business operations, etc.).

On October 15, 2017, Binance burned for the first time. From October 13 to October 15, BNB rose from $1.29 to $1.58, an increase of 22%.

Before the second burn, it rose 21% on January 11 and once reached a record high of $25.18 on January 12.

On April 15, 2018, Binance was burned for the third time. From April 10 to April 13, BNB rose by 13.8%.

Every time after that, before burning, you need to pull the market and take the opportunity to reduce your holdings.

I don't touch this kind of currency that is outside the rules of the market. The risk factor is too high, I will not take advantage of the fire.

end

If heroes are lonely. I am alone, so I am a hero.

----paradox

BNB is a typical paradox. I don’t know how long this bottle cap game can last. Maybe investors will one day face an empty cap with nothing inside. The most likely risk for Binance is CZ’s character, his rampant character. The trigger of risk may be supervision, public opinion, safety, or other factors. The next article will focus on safety.

Finally, when I was watching an interview with a certain media, I had a little doubt when it came to CZ’s resume.

What is CZ doing in 2016?



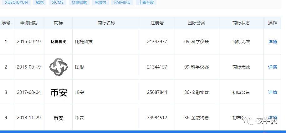
Bijie Technology Company came into view. Let me first take a look at its intellectual property rights.



I’m a little confused. From the perspective of intellectual property rights, is Binance a Chinese company? But every time we declare to the outside world, don’t we say that we are an international company?

So what exactly is CZ doing in 2016? The answer is that he was involved in postal currency card transactions. Judging from the company's products of Shanghai Bijie Network Technology, there are Haibei Assistant, Shangwen Art Trading Software, Dune Culture, etc.



Is Haibei Assistant a plug-in for postal currency card transactions? Or a trading platform? I don't have any specific information. Just look at media opinion.



Postcard collapsed at the end of 2016. I don't know how much money CZ makes. But thinking about BNB’s model, it should be inextricably linked to the experience of postal currency card exchanges.

Investment involves risks, and this article only represents the advice of investors.



精彩评论0
我有话说......
TA还没有介绍自己。